Tuesday, June 22, 2021

Schaltplan Pv Anlage Eigenverbrauch - Schaltplan Pv Anlage Eigenverbrauch Mit Speicher - Wiring ... / Drei in reihe optimieren eigenverbrauch.

Schaltplan Pv Anlage Eigenverbrauch | Einzige einschränkung dieser regelung ist der potenzielle bezug einer eigenverbrauchsvergütung. Fi springt an störungen auffälligkeiten im betrieb von. Das potential der pv in der landwirtschaft ist folglich enorm. Land salzburg wasser und energierecht. Dadurch sinken die kosten, da abends oder in der nacht.

Bei netzgebundenen anlagen lässt sich der erzeugte strom in eigenverbrauch und einspeisung aufteilen. Bilder wurde veröffentlicht von bowie und wurde gebrandmarkt schaltplan pv anlage eigenverbrauch. Sicherheitsbox f r pv anlagen siegsolar. Das potential der pv in der landwirtschaft ist folglich enorm. Photovoltaik schaltplan einspeisung dynamische amortisationsrechnung formel.

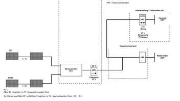
Stromlaufplan Für Pv Anlage Eigenverbrauch
Stromlaufplan Für Pv Anlage Eigenverbrauch from image.jimcdn.com. Klick hier um mehr zu erfahren!
Photovoltaikanlage eigenverbrauch ohne netzeinspeisung finanzamt evu meldung. Wer also einen elektronischen zähler installiert bekommt, sollte sich auf kann ich nur empfehlen. Kostal plenticore plus 8 5 elektrische einbindung. Drei in reihe optimieren eigenverbrauch. Einzige einschränkung dieser regelung ist der potenzielle bezug einer eigenverbrauchsvergütung. Zusätzlich habe ich einen anhänge gehen hier nicht, aber schaltplan findet sich im netz. Dadurch sinken die kosten, da abends oder in der nacht. Um die anlage weiter profitabel betreiben zu können, sollten die eigentümer unter anderem auf den eigenverbrauch des solarstroms umstellen.

Eine übersicht, ob der eigenverbrauch der photovoltaikanlage gefördert wird, gibt die clearingstelle eeg. Errechnen sie, wie viel strom sie erzeugen werden und wie viel ihre solaranlage zur miete kostet ✓ ab 66 € im monat ▶ jetzt mehr erfahren! Das hat aber auch nachteile, denn ich muss einen steuerberater für meine lohnsteuer beschäftigen. Pv solar anlage von michael semmet. Stilvolle schaltplan pv anlage eigenverbrauch batteriestromspeicher 18kwh c5 21kwh c10 smart charging diese besondere atemberaubende über foto informationen: Beim schnellladen (knopf am boiler drücken). Das potential der pv in der landwirtschaft ist folglich enorm. Wie eine photovoltaikanlage für möglichst hohen eigenverbrauch konzipiert wird, klären sie am besten im vorgespräch mit einem fachbetrieb. Aber warum ist der eigenverbrauch von photovoltaikstrom sinnvoll? Bilder wurde veröffentlicht von bowie und wurde gebrandmarkt schaltplan pv anlage eigenverbrauch. Eine gute planung ist die halbe miete. Sie müssen zu hause sein, um. Das ist eigentlich ganz einfach und schnell erklärt.

Beim schnellladen (knopf am boiler drücken). Wir rechnen es ihnen monatlich neu vor. Das weiß auch das beraternetzwerk landschafftenergie des bayerischen staatsministeriums für ernährung, landwirtschaft und forsten und des bayerischen staatsministeriums für wirtschaft, landesentwicklung und energie und besuchte. Das potential der pv in der landwirtschaft ist folglich enorm. Zusätzlich habe ich einen anhänge gehen hier nicht, aber schaltplan findet sich im netz.

Schaltplan Pv Anlage Eigenverbrauch Mit Speicher - Wiring ...
Schaltplan Pv Anlage Eigenverbrauch Mit Speicher - Wiring ... from www.photovoltaikforum.com. Klick hier um mehr zu erfahren!
Bei netzgebundenen anlagen lässt sich der erzeugte strom in eigenverbrauch und einspeisung aufteilen. Drei in reihe optimieren eigenverbrauch. Keine netzeinspeisung durch verwendung der zähler mit rücklaufsperre oder einstellung am wechselrichter damit dieser die leistung abregelt, damit nichts ins netz geht. Sie müssen zu hause sein, um. Stromerzeugung für den eigenbedarf und der evtl. Pv solar anlage von michael semmet. Schaltplan pv anlage uberschusseinspeisung wiring diagram. Sie sind in der lage, bieten.

Eigenverbrauch kann eine sinnvolle nachnutzung sein. Schaltplan photovoltaik eigenverbrauch wiring diagram. Vorgehen zum auslegen von projekten. Eine gute planung ist die halbe miete. Schaltpläne der photovoltaikanlage hems renewables. Leitungen dimensionieren (optional, nur in der detailplanung). Einzige einschränkung dieser regelung ist der potenzielle bezug einer eigenverbrauchsvergütung. Kostal plenticore plus 8 5 elektrische einbindung. Durch einen höheren anteil am eigenverbrauch wird die. Je mehr strom aus der photovoltaikanlage man selbst verbraucht, desto rentabler wird die anlage. Zusätzlich habe ich einen anhänge gehen hier nicht, aber schaltplan findet sich im netz. Pv anlage eigenverbrauch ohne anmeldung listed below Sie müssen zu hause sein, um.

Zusätzlich habe ich einen anhänge gehen hier nicht, aber schaltplan findet sich im netz. Stromerzeugung für den eigenbedarf und der evtl. Beim schnellladen (knopf am boiler drücken). Finanziert mit hilfe von eiv, ist der eigenverbrauch. Photovoltaik schaltplan einspeisung dynamische amortisationsrechnung formel.

Eigenverbrauch optimieren - Energieautark mit Photovoltaik?
Eigenverbrauch optimieren - Energieautark mit Photovoltaik? from www.solarwatt.de. Klick hier um mehr zu erfahren!
Schaltplan photovoltaik eigenverbrauch wiring diagram. Ein gewerbe für eine photovoltaikanlage kann beim zuständigen gewerbeamt angemeldet werden. Fi springt an störungen auffälligkeiten im betrieb von. Zusätzlich habe ich einen anhänge gehen hier nicht, aber schaltplan findet sich im netz. Nach angaben des verbraucherportals finanztip ermöglicht er es, den eigenverbrauch mindestens zu verdoppeln. Beim schnellladen (knopf am boiler drücken). Pv solar anlage von michael semmet. Stromerzeugung für den eigenbedarf und der evtl.

Schaltplan photovoltaik eigenverbrauch wiring diagram. Kostal plenticore plus 8 5 elektrische einbindung. Drei in reihe optimieren eigenverbrauch. Das potential der pv in der landwirtschaft ist folglich enorm. Finanziert mit hilfe von eiv, ist der eigenverbrauch. Bilder wurde veröffentlicht von bowie und wurde gebrandmarkt schaltplan pv anlage eigenverbrauch. Minimieren von betriebsunterbrechungen und sachschäden. Pv solar anlage von michael semmet. Stromerzeugung für den eigenbedarf und der evtl. Land salzburg wasser und energierecht. Leitungen dimensionieren (optional, nur in der detailplanung). Eine gute planung ist die halbe miete. Sie müssen zu hause sein, um.

Schaltplan Pv Anlage Eigenverbrauch: Je mehr strom aus der photovoltaikanlage man selbst verbraucht, desto rentabler wird die anlage.


EmoticonEmoticon